
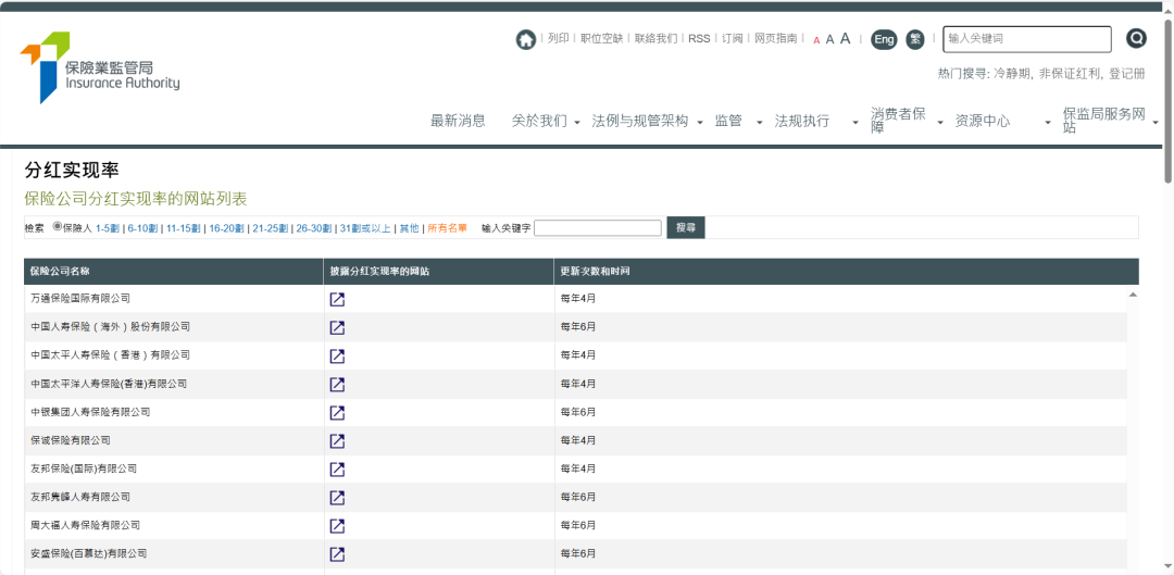
因此,香港保監局也要求每一家香港保險公司每年公布其分紅實現率,並記錄在保監局官網上,公開透明,作為維護客戶權益的監管手段之一。

在香港這樣的國際化市場裏面,同行、客戶已然成為很好的“監管者”,
如今友邦、周大福、保誠、萬通、立橋人壽和忠意人壽都已公布2024年的分紅實現率,作為“香港保險公司照妖鏡”,那麽各家保險公司的分紅水平究竟如何呢?
友邦

一鍵查閱網址:
https://www.aia.com.hk/zh-cn/products/further-product-information/participating-products/fulfillment-ratio
周大福人壽

一鍵查閱網址:
https://www.ctflife.com.hk/tc/support/important-information/fulfillment-ratios-dividends
保誠
保誠綜合分紅實現率及總現金價值實現率,其實看來有些不理想,但好在長線實際平均總內部回報率比較可觀。

一鍵查閱網址:
https://www.prudential.com.hk/performance/fulfillment-ratio/tc/index.html
萬通

一鍵查閱網址:
https://corp.yflife.com/tc/Hong-Kong/Individual/Services/Useful-Information/Investment-Strategy
立橋人壽


一鍵查閱網址:
https://www.wli.com.hk/editor_upload_image/files/2024%20Fulfillment%20Ratio%20(Chinese).pdf
忠意


一鍵查閱網址: